昊梵体育网

劳斯莱斯纯电动SUV,可能会另外起个名字。它出现在慕尼黑。它肯定会采用宝马最新的

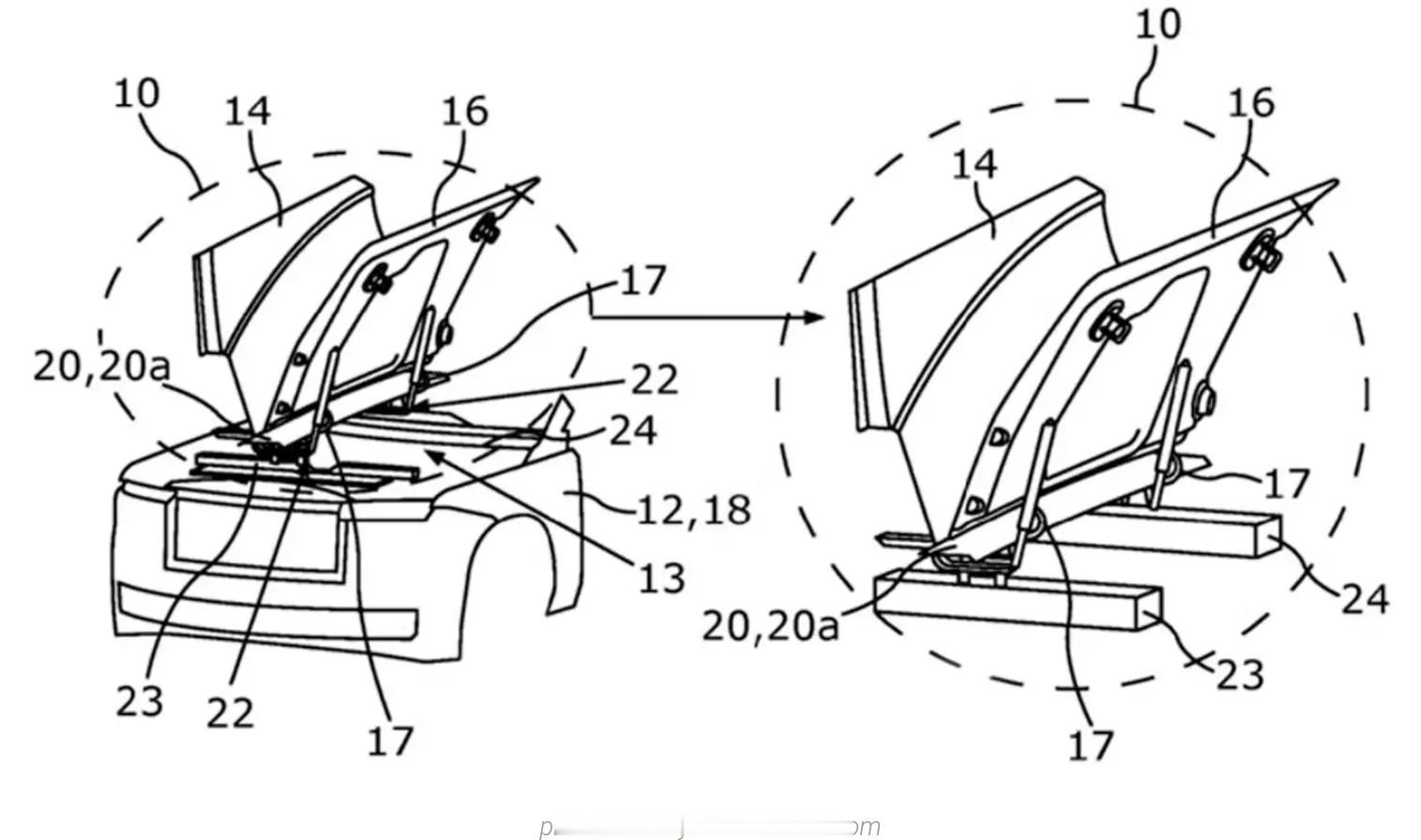
劳斯莱斯纯电动SUV,可能会另外起个名字。它出现在慕尼黑。它肯定会采用宝马最新的电动架构,大圆柱电芯,估计是46120规格。2024年申请的专利左右分开式前盖,里面预计会有一些精巧的储物箱设计。2027年投产,售价估计在40万~45万欧元。