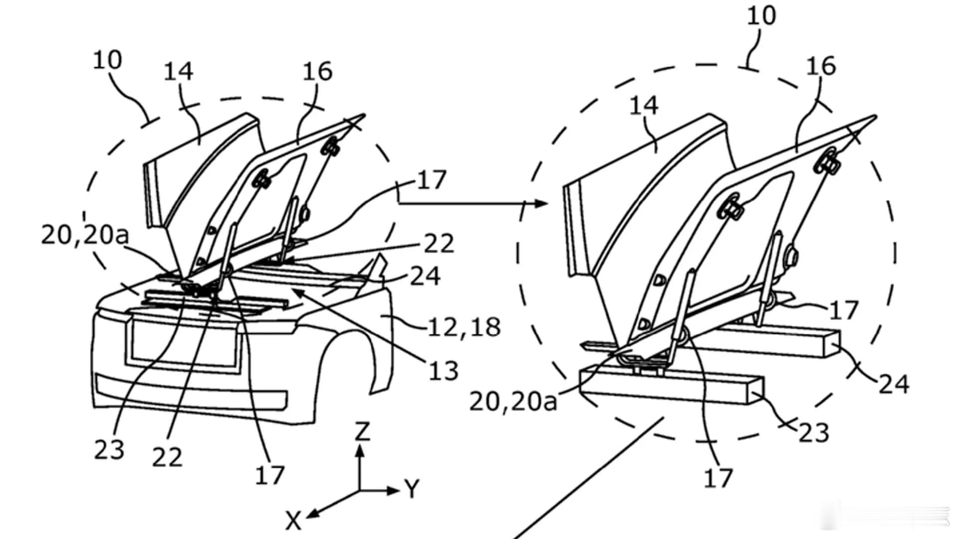
名车志谍照 【劳斯莱斯全新纯电SUV测试曝光】新车最抢眼的是复古分体式引擎盖设计,中央带脊线并保留可升降欢庆女神立标,两侧面板可像尾箱盖般向上开启;前脸采用封闭式格栅、分体式灯组与带 RR 标识的下大灯,车身轮廓接近现款库里南,车尾取消排气口、牌照框移至保险杠,纯电特征鲜明。动力预计沿用闪灵的 102kWh 电池与双电机四驱,还可能推出 Black Badge 高性能版,并融入宝马第六代 eDrive 与新世代平台技术。




名车志谍照 【劳斯莱斯全新纯电SUV测试曝光】新车最抢眼的是复古分体式引擎盖设计,中央带脊线并保留可升降欢庆女神立标,两侧面板可像尾箱盖般向上开启;前脸采用封闭式格栅、分体式灯组与带 RR 标识的下大灯,车身轮廓接近现款库里南,车尾取消排气口、牌照框移至保险杠,纯电特征鲜明。动力预计沿用闪灵的 102kWh 电池与双电机四驱,还可能推出 Black Badge 高性能版,并融入宝马第六代 eDrive 与新世代平台技术。



